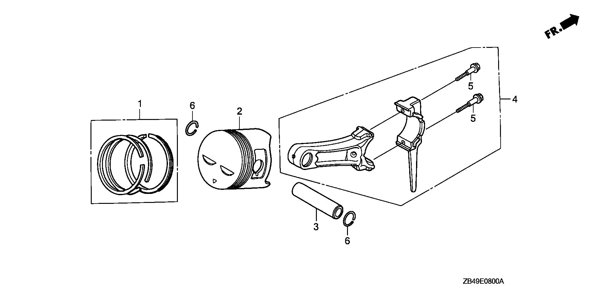
Generators EB EB3500 EB3500XK1 AG/A EA6-3100001-3114939 PISTON@RINGS - Honda of Riverhead

Ref No
Part Number
Description
Serial Range
Qty
Price

Ref No
1
Part Number
13010-ZE2-013
Description
RING SET, PISTON (STD) (NIPPON)
Serial Range
1000001 - 9999999
Qty
Price
$33.76

Ref No
1
Part Number
13010-ZE2-921
Description
RING SET, PISTON (STD) (TEIKOKU)
Serial Range
4081305 - 9999999
Qty
Price
$44.36

Ref No
1
Part Number
13011-ZE2-013
Description
RING SET, PISTON (0.25) (NIPPON)
Serial Range
4869815 - 9999999
Qty
Price
$35.72

Ref No
1
Part Number
13011-ZE2-014
Description
RING SET, PISTON (0.25) (TEIKOKU)
Serial Range
4081305 - 9999999

Ref No
1
Part Number
13012-ZE2-921
Description
RING SET, PISTON (0.50) (TEIKOKU)
Serial Range
4869815 - 9999999
Qty
Price
$48.98

Ref No
1
Part Number
13013-ZE2-013
Description
RING SET, PISTON (0.75) (NIPPON) (NOT AVAILABLE)
Serial Range
4869815 - 9999999

Ref No
1
Part Number
13013-ZE2-014
Description
RING SET, PISTON (0.75) (TEIKOKU)
Serial Range
4081305 - 9999999

Ref No
2
Part Number
13101-ZE2-W00
Description
PISTON (STD)
Serial Range
1000001 - 9999999
Qty
Price
$51.02

Ref No
2
Part Number
13102-ZE2-W00
Description
PISTON (0.25)
Serial Range
4869815 - 9999999
Qty
Price
$75.38

Ref No
2
Part Number
13103-ZE2-W00
Description
PISTON (0.50)
Serial Range
4869815 - 9999999
Qty
Price
$75.38

Ref No
2
Part Number
13104-ZE2-W00
Description
PISTON (0.75)
Serial Range
4869815 - 9999999
Qty
Price
$72.12

Ref No
3
Part Number
13111-ZE2-000
Description
PIN, PISTON
Serial Range
1000001 - 9999999
Qty
Price
$13.48

Ref No
4
Part Number
13200-Z1D-900
Description
ROD ASSY., CONNECTING (STD)
Serial Range
1000001 - 9999999
Qty
Price
$30.38

Ref No
4
Part Number
13200-ZE2-010
Description
ROD ASSY., CONNECTING (STD)
Serial Range
1000001 - 9999999

Ref No
4
Part Number
13200-ZE2-305
Description
ROD ASSY., CONNECTING (0.25 LOWER SIZE)
Serial Range
1000001 - 9999999
Qty
Price
$121.18

Ref No
5
Part Number
90001-ZE8-000
Description
BOLT, CONNECTING ROD
Serial Range
1000001 - 9999999
Qty
Price
$4.34

Ref No
6
Part Number
90551-ZE1-000
Description
CLIP, PISTON PIN (18MM)
Serial Range
1000001 - 9999999
Qty
Price
$1.36