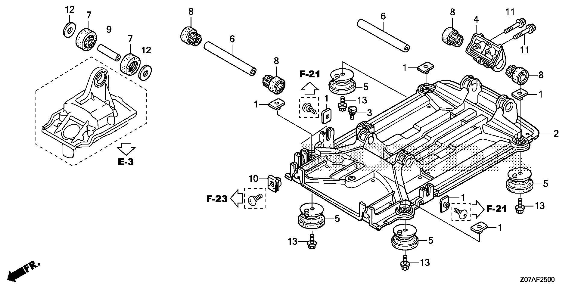
Generators EB EB2000 EB2000I A EBCJ-1000001-9999999 UNDER COVER - Honda of Riverhead

Ref No
Part Number
Description
Serial Range
Qty
Price

Ref No
1
Part Number
61304-HB3-003
Description
NUT, SPECIAL (6MM)
Serial Range
1000001 - 9999999

Ref No
2
Part Number
63711-Z07-000
Description
COVER (LOWER)
Serial Range
1000001 - 9999999
Qty
Price
$112.58

Ref No
3
Part Number
64264-438-850
Description
GROMMET, PAD SETTING (NOT AVAILABLE)
Serial Range
1000001 - 9999999

Ref No
4
Part Number
68322-Z07-000
Description
BRACKET, ENGINE MOUNTING
Serial Range
1000001 - 9999999
Qty
Price
$16.12

Ref No
5
Part Number
68325-Z07-003
Description
RUBBER (LOWER)
Serial Range
1000001 - 9999999

Ref No
6
Part Number
68333-Z07-000
Description
COLLAR A, INSULATOR
Serial Range
1000001 - 9999999
Qty
Price
$6.74

Ref No
7
Part Number
68335-Z07-000
Description
INSULATOR (UPPER)
Serial Range
1000001 - 9999999
Qty
Price
$4.02

Ref No
8
Part Number
68338-Z07-000
Description
INSULATOR (LOWER)
Serial Range
1000001 - 9999999
Qty
Price
$4.34

Ref No
9
Part Number
68339-Z07-000
Description
COLLAR B, INSULATOR
Serial Range
1000001 - 9999999
Qty
Price
$4.24

Ref No
10
Part Number
84601-HA7-670
Description
NUT, FENDER SETTING
Serial Range
1000001 - 9999999

Ref No
11
Part Number
90017-883-000
Description
BOLT, FLANGE (6X32) (CT200)
Serial Range
1000001 - 9999999
Qty
Price
$3.26

Ref No
12
Part Number
90551-033-000
Description
WASHER, SPROCKET SETTING
Serial Range
1000001 - 9999999
Qty
Price
$2.12

Ref No
13
Part Number
95701-06010-08
Description
BOLT, FLANGE (6X10)
Serial Range
1000001 - 9999999
Qty
Price
$1.96